双板双工位快速中国XVDEVIOS安装包的双网同时应用,换网时不中断料流,达到不停机换网。...
双网同时应用,不中断料流
不停机换网
适合所有的聚合物的挤出生产要求
自动补偿密封间隙
耐高温,耐高压,不漏料,过滤面积大
双板双工位快速中国XVDEVIOS安装包的双网同时应用,换网时一网工作,一网更换,不中断料流,能达到不停机换网。保证两个过滤单元同时工作状态,其过滤面积是单网的二倍。适合所有的聚合物的挤出生产要求。换网过程不断过滤,对挤出机生产不会造成明显的波动,提高了制品质量的稳定性。可承受较高的熔体压力。可靠的密封结构提高了密封效果。
双板双工位快速中国XVDEVIOS安装包自动补偿密封间隙,耐高温,耐高压,不漏料,过滤面积大,适应高产量的设备。中国XVDEVIOS安装包时不停机,可增加产量、节约能耗。换网方便,操作维护简易。广泛应用在造粒、管材、板材、片材、流延膜等挤出生产线中。

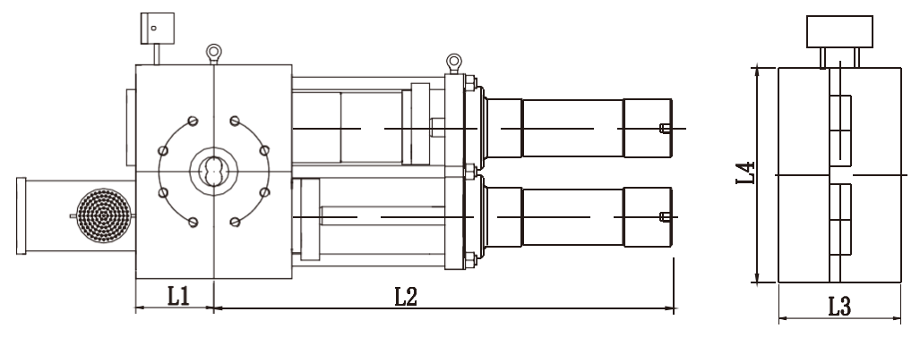
| 产品规格型号 | 相关产量output | 轮廓尺寸(mm)size | 滤网尺寸screen size | 加热器Hcating tube | ||||||
| type | kg/h | L1 | L2 | L3 | L4 | 直径(mm) | 面积(cm²) | 数量 | 电压(v) | 加热功率(w) |
| HK-DSP-80 | 110~300 | 140 | 775 | 220 | 330 | Ф80 | 50x2 | 6 | 230/400 | 1200/1700 |
| HK-DSP-100 | 180~500 | 170 | 895 | 250 | 400 | Ф100 | 78x2 | 6 | 230/400 | 1600/2000 |
| HK-DSP-120 | 350~800 | 200 | 1005 | 310 | 470 | Ф120 | 113x2 | 6 | 230/400 | 2000/2400 |
| HK-DSP-150 | 450~1200 | 245 | 1170 | 350 | 560 | Ф150 | 176x2 | 6 | 230/400 | 2400/3000 |
| HK-DSP-180 | 500~1500 | 290 | 1335 | 440 | 600 | Ф180 | 254x2 | 6 | 230/ 400 | 4000/4800 |
| HK-DSP-200 | 800~2500 | 320 | 1455 | 450 | 670 | Ф200 | 314x2 | 8 | 230/400 | 4500/5300 |
| HK-DSP-250 | 1400~3700 | 395 | 1760 | 490 | 760 | Ф250 | 490x2 | 8 | 230/400 | 5000/6000 |
注:实际产量取决于物料的流动性、过滤精度以及物料的纯净度。参数如有变动恕不另行通知。
Note: The actual output depends on material fiowabilit fiter fineness and material purity. Specfications are subject to chang witout prior notice
在塑料加工行业中,挤出机中国XVDEVIOS安装包作为关键设备之一,在发泡生产线中扮演着至关重要的角色。本文将深入探讨挤出机中国XVDEVIOS安装包的工作原理、功能特性以及在发泡生产线中的具体应用,以期为读者提供全面而深入的理解。...
熔体泵具有结构紧凑、制造工艺简单、成本低、对油污不敏感等优点,应用广泛。但是,由于制造、装配、操作、维护过程中的缺陷或维护不当,泵往往会过早损坏甚至报废,导致泵的实际使用寿命达不到设计要求。主要影响因素分析如下。...
熔体计量泵主要安装在挤出机的出口处,用于对各种熔体进行计量和加压。熔体计量泵的优点是运行安全可靠,性能稳定,使用寿命长,运行成本低。挤出机熔体计量泵是一种容积泵,可以选择不同的材料,满足输送不同熔体的需要;熔体计量泵的型号尺寸范围为0.2CC至12000CC。熔体计量泵泵体材质:碳钢、不锈钢304、316、316L、模具钢、合金钢等;熔体计量泵精密齿轮材质:高硬度合金钢、沉淀硬化不锈钢等;轴套材料:碳化硅、硬质合金等。...
熔体泵的理论排量每转排出的熔体体积称为熔体泵的理论排量,或称泵排量,其单位为cc/r或cm³/r。熔体泵的规格一般用排量来表示。熔体泵的理论流量忽略泄漏的影响,根据熔体泵的几何尺寸计算的单位,在一定时间内流过熔体泵的熔体称为泵的理论流量。通常为体积流量和质量流量。理论体积流量由熔体泵的排量乘以转速得到,单位为cm³/min或cc/min,l/min。将熔体密度乘以该值,得到熔体泵的理论质量流量,通常表示为g/min或kg/h、t/h。...
如果您有任何问题或疑问,请随时留言与中国X站安装联系,中国X站安装将第一时间致电服务。